|
零件名称
|
阀体
|
阀杆
|
阀底座、法兰
|
填料
|
填料阀盖
|
手轮
|
|
CJ123H-250-DN15
|
铬镍不锈钢
|
铬镍不锈钢
|
铬镍不锈钢
|
聚四氟乙稀、柔性石墨
|
不锈钢
|
优质碳钢
|
|
型号
|
公称压力(MPa)
|
试验压力(MPa)
|
工作压力(MPa)
|
工作温度(℃)
|
适用介质
|
||
|
壳体 (MPa)
|
密封 (液)
|
密封 (气)
|
|||||
|
CJ123H-250-DN15
|
25.0
|
37.5
|
27.5
|
0.6
|
25.0
|
P≤540℃
|
液化石油气水、酸、蒸汽、油品等
|
|
C≤425℃
|
|||||||


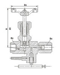
|
型号
|
公称直径(mm)
|
尺寸
|
重量(Kg)
|
|||||
|
RA
|
RC
|
Do
|
H
|
H1
|
d
|
|||
|
CJ123H-320-DN15
|
15
|
M20×1.5
|
G1/2?
|
65
|
100
|
110
|
5
|
1.4
|
上一篇:暂无
下一篇:J43W/H法兰针型阀