|
零件名称
|
阀体
|
阀瓣
|
密封圈
|
|
H42B-25
|
铸铁
铸钢 |
碳钢
|
巴氏合金
|
|
H42B-40
|
|
公称压力
PN(MPa) |
试验压力PS(MPa)
|
工作压力P(MPa)
|
工作温度(℃)
|
适用介质
|
|
|
壳体
|
密封
|
||||
|
2.5
|
2.75
|
3.75
|
2.5
|
≤150
|
氨、氨液
|


|
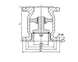
PN
|
DN
|
H
|
D
|
D1
|
D2
|
b
|
f
|
Z-φd
|
|
2.5MPa
4.0MPa
|
32
|
120
|
135
|
100
|
78
|
18
|
2
|
4-18
|
|
40
|
130
|
145
|
110
|
85
|
18
|
3
|
4-18
|
|
|
50
|
140
|
160
|
125
|
100
|
20
|
3
|
4-18
|
|
|
65
|
160
|
180
|
145
|
120
|
22
|
3
|
8-18
|
|
|
80
|
185
|
195
|
160
|
135
|
22
|
3
|
8-18
|
|
|
100
|
210
|
230
|
190
|
160
|
24
|
3
|
8-23
|
|
|
125
|
250
|
270
|
220
|
188
|
28
|
3
|
8-25
|
|
|
150
|
300
|
300
|
250
|
218
|
30
|
3
|
8-25
|
|
|
200
|
380
|
360
|
310
|
278
|
34
|
3
|
12-25
|
上一篇:暂无
下一篇:J42B角式氨用截止阀